Лучшая on-line библиотека для начинающих и профессионалов!
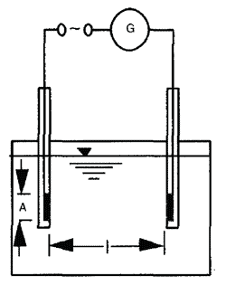
Как мы уже видели в «Основах», вследствие диссоциации солей в водном растворе возникают заряженные частицы (ионы), которые переходят в раствор. Чем больше солей диссоциировано, тем выше проводимость воды. Если два электрода поместить в стакан с водой и подвести напряжение, то потечет ток, который обратно пропорционален электрическому сопротивлению R (измеренному в омах).
|
Ток между двумя электродами измеряют для определения электропроводности. Ее значение, кроме расстояния между электродами, зависит от площади электрода; зная эти величины, можно рассчитать удельную электропроводность |
Электропроводность G определяется как обратное значение сопротивления и измеряется в сименсах (См). Следовательно имеется:
Электропроводность – 1/сопротивление
G[См] = 1/R[Ω]
Удельная электропроводность определенного вещества – это электрическая проводимость на сантиметр. Удельная электропроводность получается из электропроводности по вышестоящей формуле. При этом 1/A называется начальной константой. Формула показывает, что значение электропроводности умножается на расстояние между электрода-ми и делится на площадь электродов, чтобы таким образом получить удельную электропроводность. В аквариумной технике измеряемые величины так малы, что они выражаются в мкСм/см (1 мкСм = 1 микросименс) или (мкСм/см микросименс равен одной миллионной части сименса). Обычные области измерений приведены в находящейся ниже таблице. Для аквариумной техники из этого ряда интересны все значения за исключением чистой воды. Таким образом, при многократном использовании приборов обратного осмоса, их функции и регулировки целесообразно проверять с помощью хорошего прибора для измерения электропроводности. Такие приборы пригодны для определения качества употребляемой водопроводной воды или измерения электропроводности морской воды для аквариума. Таким образом, имеются области измерений от 6 мкСм до 60 мкСм (=60000 мкСм). Эти области находятся в соотношении 1:10000, так что обычно это работа выполняется не одним прибором. Тем не менее существуют приборы, которые перекрывают весь диапазон измерений. Они снабжены переключателем области измерений, так что можно подбирать необходимый диапазон с очень высокой точностью. Измерение электропроводности зависит от многих факторов.
| Чистейшая вода (бидистиллят) | 0,03–0,1 | См/см |
| Чистая вода (вода после обратного осмоса, дистиллят) | 0,1–15 | См/см |
| Мягкая и чистая вода, например, вода для дискусов | 10–50 | См/см |
| Нормальная пресная срееднеевропейская вода, водопроводная вода | 300–600 | См/см |
| Вода Балтийского моря | 10–25 | См/см |
| Теплые моря, вода океанов | 50–55 | См/см |
| Красное море | свыше 60 | См/см |

Предыдущая || Следующая || Оглавление