Лучшая on-line библиотека для начинающих и профессионалов!
Многое из того, что будет сказано в этом разделе хорошо знакомо бывалым аквариумистам, но начинающие аквариумисты, не имеющие возможности познакомиться с публикациями в журналах за прошлые годы и ограниченные в выборе литературы, наверняка найдут для себя полезные мысли, нужные крупицы опыта
В основном, содержание раздела построено на информации, опубликованной в журналах «Рыбоводство и рыболовство», «Рыбное хозяйство» за все предыдущие годы, а также полученной из почты заочного клуба аквариумистов «Нептун», разумеется в обработке и с комментариями автора.
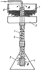
1. Простой по конструкции фильтр биологической очистки воды для небольшого аквариума, работающий по принципу эрлифтной системы может за сравнительно короткое время смастерить каждый. Посмотрите на рисунок, и вы поймете, как это просто. Однако при всей своей внешней простоте, использование такого фильтра гораздо предпочтительнее, чем открытого распылителя воздуха от микрокомпрессора. Для изготовления нужно иметь под рукой отрезок стеклянной (можно пластиковой) трубки (1), длина которой соответствует глубине вашего аквариума.
При помощи кусочка резинового шланга на нижний конец трубки крепится воронка (2) (стеклянная, пластиковая). Для ее изготовления удобно использовать пластиковые пузырьки из-под шампуни с обрезанным дном, имеющие форму воронки. Через трубку протягивается гибкий шланг (3) (резиновая или пластиковая трубка меньшего диаметра, идущая от микрокомпрессора) так, чтобы распылитель (4) оказался внутри воронки. Предпочтительнее, чтобы гибкий шланг на отрезке А—Б был небольшого диаметра. Диаметр внешней трубки может быть от 14 до 20 мм.
Собранную таким образом конструкцию следует закрепить внутри аквариума в вертикальном положении так, чтобы верхний конец трубки (1) возвышался над горизонтом воды. Крепить конструкцию к стенке аквариума можно жестко (на присосках или при помощи нержавеющей проволоки), но мне по душе плавающая конструкция на пенопласте (5), ведь уровень воды в аквариуме колеблется.
Если после установки фильтра в аквариуме по тонкому шлангу подать воздух от микрокомпрессора, пузырьки от распылителя устремятся вверх по трубке, увлекая за собой воду, которая начнет выливаться через верхний край трубки. Получится своего рода насос, который работает по принципу эрлифта. Разумеется такой насос будет засасывать и взвешенные частицы. Если теперь на пути струи воды, выходящей из трубки нашего насоса, установить коробочку (6), изготовленную из пластика (изпод того же пузырька от шампуни или от других моющих средств), в донышке которой просверлить отверстия, а внутрь, ниже конца трубки (1), уложить слой фильтрующего материала (7) (капроновые нити из распущенного чулка, синтетического пористого материала, за исключением стеклянной и хлопчатобумажной ваты), через которую эрлифтный насос (4) прокачивает очищенную воду, то фильтр биологической очистки будет готов. Со временем в фильтрующем материале поселятся вместе с илом и размножатся микроорганизмы, участвующие в регенерации и очистке воды. Время от времени фильтрующий материал нужно извлекать из короба пинцетом и промывать в холодной воде, не ошпаривая и не стерилизуя его, чтобы сохранить живыми поселившихся в нем полезных бактерий. Мне представилось важным подробно описать принцип действия такой простой конструкции, так как большинство больших и маленьких, сложных и простых конструкций, применяемых в практике аквариумистики построены именно на этом принципе. В простых конструкциях фильтра могут быть изменения (например воронка внизу заменена на пустотелый поролон различной формы, и тогда фильтрация и регенерация воды будут происходить при входе в корпус эрлифтного насоса). Верхний конец трубки (1) может быть загнут, а струя воды направлена вдоль горизонта воды по желобу или склеенному из оргстекла продолговатому коробу с отверстиями в днище и с фильтрующим материалом внутри. Конструкции могут быть разные (мы рассмотрим их подробнее в выпуске, посвященном технике аквариумного рыбоводства), но принцип их действия общий. Это системы, состоящие из эрлифтного насоса, камеры фильтра, заполненной фильтрующим материалом, в котором работают полезные микроорганизмы, помогающие очистке воды от органических частиц и соединений.
2. Член заочного клуба аквариумистов «Нептун» М. Кипа, обосновывая свое убеждение (подкрепленное шестилетним опытом) в прекрасных результатах, которых можно добиться при использовании керамзита в качестве грунта в аквариуме с растениями, прислал следующую схему устройства дна.

Как видите тут использован тот же принцип системы очистки, только фильтрующим и регенерирующим воду элементом является слой керамзита на сетке, а пустота между сеткой и дном аквариума — это камера.
Любитель применяет керамзит с гранулами 3—5 мм, укладывает его слоем 3—5 см на аккумуляторную сетку, под которую подкладывает подпорки, оставляя между сеткой и дном пространство 5—10 мм. Корпус насоса в нижнем конце (вертикальная трубка) изготовлен из отрезка тонкой стеклянной трубки (от вышедшей из строя лампы дневного света), в которой установлен распылитель. Таких трубокнасосов может быть несколько (многоканальный эрлифт). По наблюдениям любителя при использовании данной конструкции вода получается кристально чистой, растения растут отлично, подгнивающих корней не бывает. Аквариум ни разу в течении 3—5 лет не подвергался генеральной очистке и производит хорошее впечатление. Выделения газов, специфического запаха не наблюдается. Чем выше проточность воды через грунт, тем больше эффект.
3. Любители аквариума очень часто предлагают различные способы использования тепла, выделяемого дросселями ламп дневного света. Для этого достаточно вывести дроссели в отдельный блок и поместить его там, где он мог бы подогревать воду в аквариумах. У меня, например, два дросселя установлены на асбестовой подстилке под цельностеклянной емкостью, а аквариумист В. Подольский из г. Душанбе помещает дроссели в пластиковую баночку (изпод шампуни или др.), заливает расплавленным парафином или стеарином и погружает почти до краев в воду аквариума, обходясь таким образом без 30 Вт электронагревателя. Может быть у когото есть на этот счет и свои предложения?
4. Интересен опыт использования в аквариумной практике перекиси водорода. Перекись водорода в присутствии тяжелых металлов или их ионов разлагается на воду и атомарный кислород. Особенно эффективны катализаторы разложения — соли и комплексные соединения железа, меди, марганца. На принципе разложения перекиси водорода катализаторами, основана работа оксидаторов. В аптеках обычно продают 3% растворы этих веществ. Для получения растворов большей концентрации используют пергидроль [техническое название 30% водного раствора перекиси водорода (Н202) ]. Разбавляя пергидроль, получаем 1—3% «медицинскую» перекись водорода. При попадании на кожу пергидроль вызывает жжение и появление белых пятен, вскоре исчезающих. Перекись водорода можно заменить таблетками гидропирита, которые так же можно приобрести в аптеках. Установлено, например, что, воздействуя на покоящиеся яйца рачков артемии-салина повышенным количеством кислорода в активной атомарной форме, можно активировать их выход при инкубации. Для этого достаточно растворить в стакане воды четвертую часть таблетки гидропирита и выдержать в растворе (постоянно перемешивая вращением стакана вправо и влево) яйца в течение 20—30 минут.
Перекись водорода (капля раствора на два литра воды) может помочь быстро восстановить кислородный режим при резком его ухудшении. Некоторые аквариумисты сообщают о положительном опыте перевозки рыбы с использованием таблеток гидропирита без закачки пакета кислородом. Подробности, к сожалению, не сообщаются.
Более того, перекись водорода губительно действует на сине-зеленые водоросли и некоторых возбудителей заразных заболеваний.
5. Как известно, слив воды из аквариума и удаление загрязнений производятся шлангом методом сифонирования. Однако, это не всегда удобно в аквариумах с небольшим объемом воды и в том случае, когда необходимо убрать лишь случайные локальные загрязнения (например, неосторожно опрокинутый на дно корм). Лично меня в таких случаях устраивает простая конструкция, состоящая из большой резиновой медицинской груши с наконечником, изготовленным из отрезка прямой стеклянной трубки (диаметром 10—13 мм) такой длины, которая позволяет достать до дна аквариума, не погружая в воду руку.
Такое приспособление выручает меня всегда, когда нужно почистить или удалить чтолибо лишнее из небольшого нерестового аквариума. Им можно даже отсасывать как погибшие, так и живые икринки (для инкубации в отдельном сосуде).
6. При извлечении сифоном загрязнений со дна аквариума, очень часто забивается узкое отверстие трубки, или наоборот — вместе со сливаемой водой удаляются мелкие частицы песка. В первом случае аквариумист А. Новиков из г. Раменское предлагает снабдить трубку грязеизвлекателя наконечником из стальной упругой проволоки диаметром 1—1,2 мм намотанной на конус так, как это показано на рисунке. Испытания этого приспособления в клубе «Нептун» показали, что такой наконечник способен к самоочищению при засасывании грязи.
Во втором случае удобно пользоваться промышленным грязеочистителем со срезанной нижней частью или трубкой с глубокой воронкой на конце (из того же флакона изпод шампуни). В этом случае грунт в основании воронки, как бы «вскипает», песок хорошо перемешивается, освобождаясь от загрязнений, но не засасывается в трубку сифона.
7. В летнее время, особенно в южных районах страны, можно значительно расширить объемы водоемов для наших питомцев, переводом части из них на открытый воздух. Золотых рыбок, например, мы вы пускали летом в небольшие прудики. Для других рыбок можно соорудить во дворе и даже на балконе временные водоемы, для которых не потребуется дефицитное стекло. У меня на балконе рыбки все лето подращивались в деревянных ящиках, выложенных изнутри двумя слоями толстой полиэтиленовой пленки (одним куском, не разрезая).
Нужно только прижать планками пленку по углам, чтобы не создавалось опасных пазух, в которых гибнут заблудившиеся рыбки. Для большей защиты от возможных внезапных и резких похолоданий водоемы мои были снабжены плавающими электрообогревателями (я применял кипятильники) с терморегуляторами, которые большей частью летом не включались, поскольку мои водоемы были защищены от ветра и холода створками шкафа.
8. Во многих рекомендациях по аквариумному рыбоводству сказано, как освободиться путем кипячения от значительной части карбонатной жесткости воды. В старых журналах можно найти и другой, менее употребляемый способ снижения жесткости воды в зимнее время путем замораживания воды в сосуде с широким дном, например, в эмалированном тазу. При этом соли концентрируются в подледном, незамороженном объеме воды. Остается пробить лунку и слить эту воду, а затем растопить замерзший слой воды и использовать полученную воду для аквариума.
Выше уже упоминалось о том, что два очередных выпуска «Библиотечки аквариумиста» будут посвящены подробному разбору всех вопросов, связанных с кормлением обитателей аквариума.
И все-таки не могу удержаться, чтобы не привести рецепты кормовых смесей, которые изготавливает «на глазок» для своих питомцев член заочного клуба «Нептун» Н. Чичиланова из с. Купай, Курганской обл. Вот они:
Рецепт 1-ый. Смешать три полных спичечных коробка сухих дафний, один спичечный коробок истолченных в муку грецких орехов, пять листиков салата (сухих), по одному сухому листочку одуванчика и суховея, чайная ложка пшеничной муки и натертой на терке белокочанной капусты (можно использовать любой другой сорт капусты) и др. овощи, фрукты, ягоды (арбузы, дыни), но ровно столько, чтобы смесь стала вязкой. Полученную смесь раскладываем тонким слоем и высушиваем в проветриваемом месте.
Рецепт 2-ой. Смешать десять спичечных коробков сухого гаммаруса, мелко измельченной рыбы, мяса или печени (телячьей), сушеной зелени (крапива, салат, петрушка, щавель и т.д.), спичечный коробок любых истолченных орехов (можно добавить рыбий жир, поливитамины), чайную ложку отвара шиповника или измельченных фруктов, овощей, ягод. Полученную смесь разложить тонким слоем и высушить сначала при низкой температуре, постепенно повышая ее до 65» С.
Рецепт 3-ий. Смешать чайную ложку творога, пять спичечных коробков сушеных дафний, спичечный коробок гаммаруса и столько же муки (ржаной пополам с пшеничной), сушеную зелень (спичечный коробок истертой в пыль крапивы и пять листочков салата), чайную ложку овсяных хлопьев и добавить молока. Полученную смесь высушить.
Член заочного клуба «Нептун» В. Бондаренко из п. Иультин, Магаданской области рекомендует следующие рецепты кормосмесей.
Рецепт 1-ый. Замороженное мясо оттаивать 5—10 минут и скоблить острым ножом вдоль волокон по срезу. Когда скобленое мясо полностью растает, добавить к нему дробленую, пшеничную крупу. Толокно, сушеную морковь, листья петрушки и глюконат кальция, измельчить в кофемолке и перемешать, а затем смешать с оттаявшим мясом до получения тестообразной массы. Добавить поливитамины. Смесь разложить на тонком стекле и оставить на ночь на батарее центрального отопления или на теплой печи. Утром сложить готовую кормосмесь в баночку с плотно закрывающейся крышкой.
Рецепт 2-ой. Перловую крупу раздробить в кофемолке, добавить немного манки, перетертых сухих листьев петрушки, сваренное вкрутую яйцо и несколько крошек черствого ржаного хлеба. Все это перемешать и залить крутым кипятком. Когда вода остынет ее нужно слить, а смесь высушить.
9. Измельчение сухих кормов и кормосмесей производится в кофемолке, после чего корма просеиваются и разделяются на фракции для молоди и крупных рыб. Сырые продукты измельчаются в мясорубке. Измельчение трубочника и мотыля можно производить ножницами, положив порцию корма на стекло или пластинку из оргстекла. Предлагаются и механические способы измельчения, когда корма нужно много. Например, аквариумист П. Ковалев из г. Краснодара предлагает несложную конструкцию, состоящую из лезвия безопасной бритвы, закрепленной на оси (удлиненной) моторчика для моделей (микроэлектродвигатель МДП1, например). Измельчение производится в стеклянной баночке, с ровным дном подобно тому, как смешивают составы в миксере.
10. Считается удобным консервирование на зиму животных кормовых объектов путем замораживания и хранением их в морозилках холодильника, а также солением.
Замораживать можно практически все мелкие кормовые культуры, исключая трубочника. Замораживают дафний и циклопов, освободив их от воды и раскладывая в кюветы с ячейками, имеющимися в каждом домашнем холодильнике. Замораживают живую «пыль», корретру, мотыля. При этом удобно разложить животных тонким слоем на целлофановой или полиэтиленовой пленке и свернуть в трубочку. Дело в том, что свежезамороженные корма ни в коем случае нельзя замораживать вторично. А от трубочки вместе с целлофаном можно отрезать кусочек с кормом. Так же можно изъять из ячейки кубик замороженного корма и не будет необходимости размораживать остальное. Таким образом, заморозка должна быть порционная (мелкими порциями) для одноразового кормления. Любитель Ю. Попов из г. Ульяновска замораживает пропущенное через мясорубку мясо моллюска (двухстворчатого) и считает этот корм не уступающим по качеству трубочнику и мотылю, предостерегая, правда, от бездумного массового отлова этих очень полезных в природных водоемах животных.
Для засолки живородки и циклопов их смешивают с солью в соотношении 1:1. Хранят в банках. Перед кормлением промывают.
Наши аквариумисты в силу дефицита, а порой и полного отсутствия самого необходимого, пожалуй самые изобретательные в мире. Поэтому не сомневаюсь, что читатели поддержат намерение продолжить раздел «Из копилки коллективного опыта» в последующих выпусках и пополнят его новым полезным материалом.
Предыдущая || Следующая || Оглавление