Книги по аквариумистике

Лучшая on-line библиотека для начинающих и профессионалов!

§ 15. Уход за аквариумом

Место аквариума и освещение

Одно из самых важных условий успешного ухода за аквариумом— это освещение, а потому при помещении аквариума, при выборе ему места перед окном надо особенно обращать внимание, во-первых, на величину окна, а во-вторых, куда оно обращено: на север, юг, запад или восток. Если окна небольшие, дающие мало света, то следует ставить аквариум как можно ближе к окну и непременно снять с верхней части окна всякую драпировку; если же большие, то аквариум оставить на1/4, на 11/2 и даже на целый аршин от окна, а драпировку или оставить, или заменить, что весьма эффектно и красиво, вьющимся плющом, или диким виноградом (Cissus antharcica), или, наконец, сделать ее из самой тонкой прозрачной кисеи. Кроме того, зимой при любом окне полезнее держать аквариум ближе к свету, а летом — подальше. Что касается до направления окна, то положение аквариума у окон, обращенных на запад и на север, полезнее летом, а на юг и восток — зимой. В случае же помещения аквариума на юг и восток весной, а в особенности летом, когда так сильно припекает солнце, во время самого припека нужно непременно не аквариум, а окно занавешивать какой-нибудь темной материей, иначе вода будет чересчур сильно нагреваться и микроскопическая водяная растительность примет такие размеры, что может превратить аквариум в болото. Лишать, однако, солнечных лучей в продолжение целых дней, как это делают некоторые любители в жаркие солнечные дни, в свою очередь, очень вредно, так как в этом случае все водяные растения будут плохо развиваться, побуреют и совсем перестанут давать воде кислород, который при солнечном освещении выделяется обычно из них в виде бесчисленного множества мелких как мак, серебристых бусинок, покрывающих жемчужной сетью грот, стекла, а в случае очень обильного выделения даже и самих рыб. Затем хорошо также переставить аквариум на это время на северную сторону или отставить его совсем от окна куда-нибудь в сторону, в уголок, где бы свет был сильный, но солнечных лучей было бы немного, и в случае недостатка кислорода прибегают к воздуходувным аппаратам, о которых подробнее буду говорить сейчас.

Но самое лучшее — заставить все окно растениями, так, чтобы солнечные лучи проникали к аквариуму лишь через листву. Такой, так сказать, просеянный свет, по неоднократным моим наблюдениям, замечательно благодетельно действует на развитие растительности в аквариуме, на обильное выделение ею кислорода и в то же время почему-то замедляет развитие водорослей.

О грунте

Хотя прекрасным грунтом для аквариума может всегда служить крупный промытый гравий, но желающим иметь илистый, как в естественных водоемах, можно рекомендовать следующий. Взять серого, встречающегося на не покрытых водой берегах реки и прудов ила (донный не годен, так как содержит в себе много гниющих веществ), смешать его с крупным песком и подбавить немного извести в виде выветрившейся штукатурки или даже туфа в порошке. Последняя примесь необходима, чтобы помешать закисанию грунта, следствием которого может быть не только гибель водяной растительности, но даже и появление у рыб водянки.

Значение водяных растений для аквариума

Водяные растения, представляя собой одно из лучших украшений аквариума, в то же время являются одним из наиболее необходимых элементов для благосостояния его обитателей. Они поддерживают его воду чистой и снабжают ее кислородом, без которого немыслимо существование животного населения (исключая, конечно, тех, которые дышат атмосферным воздухом). Особенно же в этом отношении важны так называемые подводные растения, которые, поглощая выделяемую животными углекислоту, выделяют из себя кислород, который, как это уже выше сказано, тысячами блестящих, как бисеринки, пузырьков покрывает их стебли и стекла аквариума.

Выделение это, однако, происходит только днем и притом в тем большем количестве, чем яснее день, чем сильнее освещается аквариум солнцем. Ночью же происходит действие как раз обратное. Тогда растения эти начинают также дышать, как и животные, т.е. выделять из себя углекислоту, вследствие чего животным, находящимся в аквариуме, от них не только не приносится облегчения в дыхании, но, наоборот, это последнее затрудняется: рыбы начинают усиленно дышать, подплывать к поверхности воды, чмокать, пускать пузыри и т.д., словом — выказывать все признаки изобилия в воде углекислоты и недостатка кислорода. Вот почему, засаживая растениями аквариум, нужно быть осторожным, не слишком увлекаться и не сажать их, не соображаясь с количеством имеющихся животных и объемом помещающейся в аквариуме воды. Сверх того, их надо сажать не очень тесно, а так, чтобы между каждым из растений оставалось свободное пространство и чтобы свет мог освещать их сверху донизу. Особенно же надо обращать внимание, чтобы корни их освещались и, следовательно, никогда не помещать дно аквариума ниже подоконников.

О чувствительности водяных растений к изменению состава воды

Водяные растения необычайно чувствительны к перемене состава минеральных веществ в воде, а потому за этим следует тщательно наблюдать. Иногда достаточно добавления в аквариум воды, простоявшей некоторое время в железном, нелуженом ведре, чтобы листья валлиснерии погибли в короткое время. Небольшая примесь соли кальция (извести) является причиной разрушения в короткий срок листьев увирандры, а примесь поваренной соли отзывается гибельно на большинстве водяных растений. Так, валлиснерия и элодея при 2% растворе соли изменяют вид своих листьев, которые становятся мягкими, темнеют и теряют свою прозрачность. Точно так же сильно страдают от соли листья лимнохариса, пистии и трианея. Вообще почти не боятся соли только топняк (Chara fragilis) и блестянка (Nitella). Интересно бы произвести опыт над силой чувствительности к присутствию соли всех водяных растений.

Этим изменением объясняется, почему иногда прекрасно растущие у одного любителя растения, попав к другому, растут плохо и даже гибнут, почему полученные из-за границы экземпляры долгое время не принимаются и часто совсем погибают.

Чтобы помочь этому горю, надо наблюдать постоянно, чтобы в аквариуме не встречалось ржавчины, чтобы дно его было непременно из цинка или мрамора, чтобы вода не содержала много извести и чтобы она время от времени обновлялась свежей.

Снабжение воды воздухом

Хотя лучшими и самыми естественными обновителями в воде воздуха, как я сейчас сказал, служат настоящие водяные (подводные) растения и приток свежей воды, но бывают случаи, когда или таких растений в аквариуме нет, или свежей воды достать нельзя, или же, наконец, снабжение их воздухом слишком слабо, слишком недостаточно для находящегося в аквариуме количества рыб. Тогда приходится прибегать к искусственному обновлению воды, к искусственному снабжению ее воздухом, которое производится различными способами.

Самый простой и обыкновенный из этих способов — это переливание воды стаканом. Зачерпывают воду стаканом и льют ее тонкой струей с возможно большей высоты, причем стараются, чтобы струя эта падала на что-либо твердое (на скалу, на подставленную дощечку или что-либо подобное) и попадала в аквариум, дробясь в виде мелких брызг. Чем мельче будут эти брызги, тем больше они захватят с собой кислорода воздуха. Для большего удобства вместо стакана можно взять более крупный сосуд, например ведерко, с небольшой трубочкой у дна и, повесив его повыше над аквариумом, заставить капать на что-либо твердое, помещенное на водной поверхности аквариума (вода для наполнения этого сосуда, конечно, берется из того же аквариума, который намерены освежить). Способ этот хотя простой, но настолько действенный, в особенности если хватит терпения проделать его в продолжении долгого времени, что при помощи его, например, насыщались одно время кислородом воздуха все аквариумы знаменитого Берлинского городского аквариума. Только там струя падала с высоты нескольких саженей и непрерывно день и ночь.

Второй способ это — насыщение воды при помощи маленькой спринцовки, которую врачи употребляют для вбрызгивания различных жидкостей. Способ этот также довольно утомительный, так как набирать и выпрыскивать воду надо медленно и немало раз. Выбрызгиваемую струю лучше направлять также на что-либо твердое, чтобы она, как и в первом способе, прежде чем попасть в воду аквариума, дробилась на мелкие части. Воду и тут берут из аквариума.

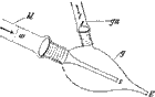
Затем следуют уже способы при помощи более сложных воздуходувных аппаратов. Из них самый простой это — аппарат, при помощи которого производится обычно пульверизация духов. Аппарат этот (рис. 15.1) состоит из двух каучуковых шаров: твердого А и мягкого, растяжимого В, покрытого филейной красной или зеленой сеткой. К последнему прикреплена гуттаперчевая трубка, посреди которой находится кран С. Трубка оканчивается куском пористого угля D.

Нажимая твердый шар А, вы вводите через него воздух в шар В, который постепенно от этого надувается и доходит до максимума надутия, обозначаемого сейчас упомянутой нами покрывающей шар сеточкой, служащей ему предохранителем от чрезмерного надутия, последствием которого был бы разрыв шара. В то время, когда вы надуваете таким образом шар, кран С должен быть закрыт, а затем, когда он надуется, вы открываете его и наполняющий шар В воздух устремляется в гуттаперчевую трубку, а отсюда уже через уголь, в виде мелких пузырьков, переходит в воду. Чем плотнее будет уголь, тем мельче будут и пузырьки воздуха. Вместо угля употребляют обычно отшлифованные каменные брусочки, пропускающие еще более мелкие пузырьки. Сверх того, можно также употреблять высушенные кусочки веток черемухи или ивы или даже просто обломок шведской спички (без фосфорной, конечно, головки), которые вставляются в конец гуттаперчевой трубки и плотно обвязываются тонкой проволочкой или крепкой ниткой. Само собой разумеется, что трубка должна иметь, по возможности, такой же диаметр, как толщина кусочков.

Но особенно хорош и практичен наконечник (рис. 15.2) из гуттаперчи, который употребляется для насыщения воздухом морских аквариумов. Наконечник этот, как видно на рисунке, состоит из согнутой под углом твердой гуттаперчевой трубки А и надетого на нее гуттаперчевого же барабанчика В, составленного из нескольких навинчивающихся друг на друга колец, в середине которых помещается плотный цилиндрик, снабженный двумя дырочками. В эти дырочки вставляются шипики ключа С, при помощи которого регулируется сила выходящего в промежутки между кольцами воздуха. Завертывая его, вы получаете струи мелких, как пыль, пузырьков, а отвертывая (налево), вы их увеличиваете и можете довести до самых крупных. Но кроме удобства регулирования величины струи, аппарат этот обладает еще свойством никогда не засоряться, как это бывает часто с брусочками, а если даже как-нибудь и засорится, то, развинтив колечки, можно всегда без всякого труда его прочистить. Противоположный барабанчику конец трубки А, само собой разумеется, вдевается в мягкую кишку, идущую от шара В (рис. 15.1). Такой наконечник можно выписывать только из-за границы. Адрес фирмы указан на 360 стр. II части «Акв. люб.».

Обращу внимание любителей еще на одно мелкое обстоятельство. Когда будете надувать шар, следите за тем, чтобы шар В (рис. 15.1) не раздувался сильнее в одну сторону, так как тогда в нем легко может образоваться маленькая дырочка, сквозь которую воздух будет выходить. Горю этому, впрочем, можно помочь, залепив отверстие, если оно, конечно, только не особенно велико, кусочком так называемого животного (вроде английского) пластыря, который употребляют при порезах, или же покрытой гуммиарабиком кромкой от почтовых марок. Налепив эти заплатки, надо, конечно, дать им хорошенько присохнуть. Но лучше всего сейчас же снести шар к мастеру, который заливает прорванные резиновые галоши. Он зальет прорыв, и шар может опять служить еще долгое время.

Подобным же шаром производится насыщение воды воздухом, производимое и при помощи парового двигателя Гейнрици (Heinrici), дающего возможность насыщать воздухом сразу несколько аквариумов. Двигатель этот А, как показано на рис. 15.3, утвержден на металлической подставке, под которой помещается подогревающая его лампа. Приведенный в движение, он нажимает педалью С на твердый шар и гонит таким образом набираемый этим шаром воздух в аквариум. Что касается самого воздуха, то он берется или в комнате, где находится двигатель, или же проводится прямо со двора, где он гораздо чище, для чего одна из трубок шара выводится через форточку наружу. Вторая часть аппарата В (рис. 15.3) представляет собой холодильник, при помощи которого нагревающаяся в двигателе вода охлаждается. Такой аппарат чрезвычайно хорош, но дорог, т.е. даже самый маленький (в1/40 лошад. силы) вместе с холодильником обходится не менее 60—70 руб. Приобрести его можно у Трындина (Лубянка, собствен. д.).

Гораздо более дешевый, но вполне удовлетворительно действующий аппарат для аквариума, это так называемый Кохозассовский (рис. 15.4).

Аппарат этот состоит из трехгорлой бутылки, горла которой вытянуты в трубки. К среднему из них прикреплена каучуковая трубка, соединяющая аппарат с водяным резервуаром. Трубка эта не цельная каучуковая, но состоит из трех трубочек: каучуковой, стеклянной с перегнутым коленом и затем опять каучуковой, но снабженной отверстием и винтом, служащим для сжимания трубки, следовательно, уменьшения притока воды. Второе горло не соединено ни с чем и служит только для стока излишка воды в аппарате. Наконец, третье горло соединено посредством каучуковой трубки со стеклянной трубкой, имеющей в конце загиб. Эта последняя погружена в воду аквариума, и из нее-то бьет освежающая струя.

Итак, вот вкратце весь аппарат. Что касается насыщения им воды воздухом, то оно производится следующим образом. Из резервуара вода устремляется в верхнюю каучуковую трубку; захватив при проходе через нее входящий в нее сквозь круглое прорезанное отверстие пузырек воздуха, она проходит вместе с ним в стеклянную трубку с коленом, а из последней, посредством нижней каучуковой трубки,— в сам аппарат. Здесь она освобождает захваченный ею воздух, а сама падает на дно аппарата и, скопляясь понемногу, теснит находящийся над ней воздух, который поднимается в трубку слева и выталкивается из нее с тем большей силой, чем больше разность между высотой воды в резервуаре и высотой воды в аквариуме, иначе, чем выше повешен резервуар и чем ниже находится аквариум.

Затем следует наиболее удовлетворительный из всех не требующих подогревания аппаратов — колонна Этикера. Колонна эта состоит, как это видно на рисунке (рис. 15.5), из двух помещенных друг над другом цилиндров (вместимостью каждый в три ведра). Верхний снабжен сверху свободно снимающейся крышкой и наполнен водой; нижний — содержит в себе лишь воздух. Вода, переходя из верхнего цилиндра через соединительную трубку в нижний, вытесняет оттуда воздух, который через кран № 1 устремляется в надетую на этот кран резиновую трубку и идет через нее в находящийся на конце ее уголек, а отсюда переходит и в воду. Когда же вся вода перешла из верхнего цилиндра в нижний, то воду эту при помощи насоса, оканчивающегося краном № 2, перекачивают обратно в верхний цилиндр, и действие опять начинается.

Что касается продолжительности этого действия (после каждого накачивания), то она бывает различна и длится от 4 до 12 часов, смотря главным образом по тому, как сильно пущен воздух через кран № 1 (т.е. во весь ли кран или в полкрана) и сколько колен, идущих в аквариум, имеет надетая на этот кран трубка. Так, если, например, она имеет два таких колена, то действие будет гораздо продолжительнее, нежели если их будет 4 и т. д. Но, кроме того, немалое влияние на продолжительность действия аппарата имеет еще плотность всех соединений трубки и запирания всех кранов, т.е. не пробивается ли как-нибудь сквозь эти соединения воздух или нет, а такая плотность достигается лишь тщательным обматыванием всех этих частей шелком. Насколько важно это последнее условие, видно лучше всего из опыта, который показывает, что аппарат действует всегда вдвое продолжительнее у тех лиц, которые обращают на это условие внимание, нежели у тех, которые о нем не заботятся и у которых вследствие этого, быть может, половина воздуха выходит сквозь незаметные отверстия наружу.

Каждое из сейчас упомянутых колен оканчивается, как и во всех предыдущих аппаратах, прессованным угольком, куском бруска или гуттаперчевым наконечником (рис. 15.2). Последний, конечно, лучше, так как пропускаемые им пузырьки воздуха гораздо мельче.

При наливании воды первый раз (в верхний цилиндр) все краны должны быть закрыты и воды надо наливать не более как до половины водомерной трубки № 4. При перекачивании же ее из нижнего цилиндра в верхний кран № 2 должен быть открыт. При этом надо смотреть на водомерную трубку и когда вода дойдет до3/4 ее — кран № 2 закрыть. Кран № 3 служит только для перемены воды.

Сейчас описанные аппараты служат представителями тех аппаратов, которые дают один только воздух и потому пригодны не только для пресноводных, но и для морских аквариумов. Но кроме такого рода воздухоснабдителей, существует еще целый ряд аппаратов, вводящих вместе с воздухом и воду. Из них особенно достоен внимания, как по простоте своей, так и по превосходству действия, конусообразный аппарат.

Он состоит из цилиндрического вместилища (рис. 15.6), в которое проведены две трубки: правая сообщается с внешним воздухом, а левая соединена с резервуаром воды. Первый проникает во вместилище сквозь широкое отверстие внизу цилиндра, а вторая через маленькую трубочку внизу цилиндра, снабженную крошечным, не толще булавочного укола, отверстием. На этот цилиндр навинчивается полый конус, оканчивающийся небольшим отверстием. Вода, истекая из резервуара тонкой струей, проникает во вместилище, смешивается с воздухом, идущим через отверстие внизу цилиндра, и, насыщенная им, выливается в аквариум.

Чтобы привести в действие этот аппарат, следует надеть на трубку справа каучуковую трубку и выставить противоположный конец ее наружу (вне воды), а на левую также надеть трубку и соединить ее с резервуаром воды или с краном водопровода. Аппарат помещают на дно аквариума или на подводную часть скалы. Аппарат этот дает очень мелкие пузырьки, но требует непременно самой чистой воды, и притом в весьма большом количестве (особенно если кто хочет устроить аквариум с постоянно проточной водой), так как одна и та же вода не может служить два раза, а из резервуара в аквариум вытекает ее в час, по меньшей мере, два ведра. Конечно, количество ее можно уменьшить с помощью приделанного к резервуару крана, но тогда количество даваемого воздуха становится очень слабо, а пузырьки крупные. Аппарат этот можно было достать у братьев Зассе, в Берлине.

Этот же самый аппарат делают из стекла, и тогда он имеет вид, представленный на рис. 15.7. Трубка w служит для притока воды; трубка l для притока воздуха. Вода, проникающая внутрь аппарата через тонкое отверстие s, соединяется с находящимся в аппарате воздухом и, насыщенная им, выходит в аквариум через отверстие Е. Аппарат этот особенно удобен для соединения с краном от водопроводных труб.

Интересной новинкой является еще воздуходувный аппарат, действующий при помощи тока воды из водопроводного крана. Это нечто вроде описанного уже во 2-м т. на стр. 302 аппарата Кинделя и СтЁосселя, но только без движущихся частей.

Аппарат носит название ѕКупающаяся жемчужинаї и состоит из медного полого цилиндра (рис. 15.8), снабженного внизу спускным краном (с), сбоку — водомерным стеклом, а вверху — трубкой и плотно надевающейся на кран водопроводной воронкой (а), куда льется из этого последнего вода.

Кроме того, в той же трубке находится (налево) небольшое отверстие для входа наружного воздуха и ниже его под прямым углом коленце (b), на которое надевается резиновая трубка, ведущая воздух в аквариум. В действие он приводится следующим образом. Надев на кран воронку (а), пускают из него слегка воду и следят по водомерному стеклу за ее уровнем. В то же время открывают и спускной кран, усиливая или замедляя сток с целью урегулирования с притоком. Когда уровень воды будет несколько ниже половины и перестанет подниматься, спускной закрывается и аппарат установлен.

Действие же аппарата состоит в том, что вливающаяся в цилиндр вода, проходя по верхней трубке с отверстием для всасывания наружного воздуха, захватывает этот воздух и нагнетает его в цилиндр, откуда, сжимаемый наполняющей этот последний водой, он устремляется в надетую на коленце (b) резиновую трубку и идет по ней в аквариум.

Особенное преимущество этого аппарата заключается в том, что он не имеет, как это я сказал уже выше, ломающихся и вытирающихся, как аппарат Кинделя и Стoсселя, движущихся частей и не требует никакой смазки, вследствие чего протекающая сквозь него вода вытекает из него настолько чистой, что может идти для питья.

Работает аппарат все время, пока бежит вода из водопроводного крана, и останавливается лишь тогда, когда этот последний запрут. Сила же накачивания им воздуха зависит от силы напора воды в водопроводе. Единственным его недостатком является очень большое потребление воды, но если принять во внимание, что она выходит из него совершенно чистой, пригодной не только для стирки, но и для питья, то и этот недостаток в значительной степени отпадает.

Температура воды

Хотя обыкновенной комнатной водой в +15° по Р. довольствуется большинство рыб, но есть некоторые экзотические виды, каковы, например, бойцовые рыбки, гурами, трихогастер, херосы, геофагус и т.п., которые чувствуют себя хорошо только при +17°, а мечут икру не иначе как при +20° и больше; другие же, наоборот, как, например, наши форели, окуни, налимы и т. п., любят воду холодную, в +10°, и даже + 8°, а более высокую выносят с трудом. Вследствие этого в первом случае приходится прибегать к искусственному нагреванию воды, а во втором к постоянному ее охлаждению. Рассмотрим оба эти случая отдельно.

Подогревание аквариума лампами

Вряд ли над чем более трудились как любители, так и специалисты, как над подогреванием аквариума. Казалось бы, что достаточно просто подставить лампу под аквариум — и готово. Но тут-то и встречается главное затруднение. Надо, чтобы подогревание это было равномерным во всех частях аквариума и чтобы, доведенное раз до известного градуса, оно на этом градусе и поддерживалось. Между тем в большинстве случаев подогревание производится только снизу, вследствие чего корни водяных растений начинают преть и растения гибнут, а кроме того, высота градусов зависит прямо от каприза лампы: будет она равномерно гореть — будет и градус поддерживать, вздумает разгореться — и живая рыба может превратиться в уху.

Я не буду рассматривать различные системы: их слишком много, и в конце концов каждая из них имеет все-таки свой недостаток, а укажу лишь на два способа нагревания: один самый простой, а другой несколько более сложный, но, как мне кажется, наиболее еще практичный.

Первый заключается в том, что аквариум ставится на табуретке с прорезанным в сиденье отверстием на противень, наполненный песком, который, подогреваясь снизу при помощи обыкновенной 3—5-линейной лампочки, передает свою теплоту аквариуму. Неудобство заключается в том, что подогревание производится опять-таки снизу — следовательно, хотя и не так сильно, но все-таки нагревает больше всего корни. Другим недостатком является, конечно, еще больше копоть от лампы. Чтобы несколько уменьшить ее шансы, советуем брать лампу с плоским фитилем, а не с круглым, он меньше разгорается и меньше коптит.

Другая же система (она может практиковаться главным образом только в стеклянном аквариуме) следующая: в углах аквариума (рис. 15.9) ставят маленькие стеклянные или металлические подставочки и на подставочки эти устанавливают второе дно d. На это дно уже кладут грунт и сажают в него растения, а для того, чтобы между верхней (В) и нижней частью (С) аквариума происходило сообщение, во втором дне делают два отверстия, в которые вставляют две стеклянные трубочки— одну покороче а, а другую подлиннее a1.

Под аквариумом, так устроенным, ставят лампочку и начинают подогревать. Тогда получается следующее. Вода, подогреваясь в нижней части, поднимается сквозь длинную трубочку в верхнюю часть, а холодная вода верхней части сквозь свою низкую трубочку устремляется вниз. Таким образом, установив правильную циркуляцию, все слои воды нагреваются равномерно и поджаривания корней растений не происходит.

Такой прибор является на первый взгляд как бы действительно идеальным, но только на первый взгляд. При дальнейшем рассмотрении оказывается, что третье из важных условий еще не выработано. Подогревающая лампа может и тут ни с того ни с сего разгореться, поднять температуру до чересчур высокого градуса и так накоптить, что можно угореть. Тем не менее система эта при аккуратном и надлежащем надзоре за лампой может быть пригодна для нашей цели, и, пока не будет изобретена лампа для равномерного горения, мы находим возможным рекомендовать ее как наиболее целесообразную и практическую. Подобным же аппаратом является еще и «термокон», описанный во 2-м т. на стр. 260.

Как на третий способ нагревания воды аквариума, можно указать еще на нагревание при помощи фонарей для освещения аквариума. За подробностями отсылаю к концу книги к статье, рассказывающей об этих фонарях.

Наконец, в случае временного нагревания воды, как, например, когда зимой по привозе рыбы нужно поднять температуру воды, в которой она помещается, до температуры комнатной воды, или для нагревания воды в жестянке во время перевозки рыб зимой, лучше всего ставить в воду глиняную или стеклянную бутыль (от каких-нибудь минеральных вод) с горячей водой, а для того, чтобы рыбы, привлекаемые теплотой, как-нибудь нечаянно не обожглись, обернуть ее полотном или кисеей.

Электрическое отопление

Нагревание керосиновыми лампочками аквариума, как мы сейчас видели, имеет два больших недостатка: оно пахнет, а по временам и сильно коптит. Вот почему уже давно пытались заменить его электрическим, но все попытки оканчивались обычно ничем, так как электричество обходится слишком дорого.

За последнее время появилось, однако, приспособление, которое значительно его удешевляет, и вот с ним-то я и хочу ознакомить теперь любителей.

Здесь нагревание производится не при помощи опускаемых в воду аквариума простых (не экономических) лампочек, как это обыкновенно делалось, а при помощи особых нагревательных элементов. Элементы эти имеют вид пластинки (рис. 15.10) в 15 см длины, 3 см ширины и1/2 см толщины и представляют собой как бы род печки. Сила их различная: от 10 до 100 ватт. Такие элементы изготовляются фирмой «Prometheus» во Франкфурт-на-Майне и стоят от 75 коп. до 1 руб. за штуку.

Каждая такая пластинка-элемент соединяется при помощи проволок, как это видно на рисунке, с концами вилки штепселя, опускается в тонкостенный стеклянный цилиндр (напр., фотографическую мензурку) и засыпается доверху мелким песком. Последний должен быть непременно постоянно сух, а потому, во избежание случайного его увлажнения в цилиндре, его покрывают сверху слоем ваты, а поверх ваты кладут еще листочек станиоля, т.е. той серебряной бумаги, в которую обертывают обыкновенно плитки шоколада.

Затем устроенный таким образом цилиндр опускают в воду и соединяют идущие от пластинки проволочки с городским током. Тогда песок начинает нагреваться, нагревает цилиндр, а этот последний начинает отдавать постепенно свою теплоту и воде.

При температуре воды +15°С при помощи пластинки в 10 ватт можно довести в небольшом аквариуме нагревание воды до +21,5°, т.е. повысить на 6,5 градусов; при помощи пластинки в 20 ватт — до 28, т.е. на 13 градусов, и т.д. Все зависит от величины поверхности 4 стеклянных стенок аквариума и поверхности воды: чем больше они будут, тем сильнее надо брать и пластинки.

Возьмем, например, аквариум в 25 см длины, 10 см ширины и 22 см высоты.

Тогда поверхность двух больших стенок будет равняться 25 X 22 = 550 X 2 = 1100 кв.см, двух боковых — 18 X 22 = 396 X 2 = 792 кв.см и поверхность воды — 25 X 18 = 450 кв.см. Сложим все это: 1100 + 792 + 450 = 2342 кв. см, или 23,4 кв. дм.

Разделим 20 ватт на эти 23,4 и получим в круглых цифрах 0,85 ватт. Это обозначает, что на повышение каждого квадратного дециметра поверхности на 13° надо 0,85 ватт.

Отсюда можно составить уже такого рода табличку: для повышения каждого дециметра поверхности воды аквариума требуется:

на 1°С — 0,07 ватт

на 3°С — 0,20 ватт

на 5°С — 0,33 ватт

на 10°С — 0,66 ватт

на 13°С — 0,85 ватт

на 15°С — 0,98 ватт

Пользуясь этой таблицей, каждый может вычислить, сколько ему нужно ватт для повышения температуры воды в его аквариуме на требуемое им количество градусов.

Так, представьте себе, что у вас аквариум в 50 см длины, 30 см ширины и 35 см высоты. Вычислив по вышеприведенному нами расчету поверхность, получим 6800 см = 68 кв. дм. Тогда для того, чтобы довести при комнатной температуре в 15°С его воду до 28°С (15 + 13), надо 68 X 0,85 = 58 ватт, иначе надо взять 3 пластинки по 20 ватт или одну в 60. Для того же, чтобы довести ее до 30°С (15 + 15), надо 68 X 0,98 = 66,6, иначе — взять пластинку в 70 ватт и т.д.

Из этого же вычисления мы видим, что нагревание одного большого аквариума выгоднее, чем нескольких маленьких, составляющих вместе его объем.

Что касается стоимости нагревания, то при обычной у нас цене электрической энергии 21/4 коп. за гектоватт нагревание средней величины аквариума обходится приблизительно около 1 коп. в час или в сутки около 20 коп., что составит 6 рублей в месяц. Это, конечно, еще очень дорого.

Охлаждение воды в аквариуме

Для понижения температуры воды хорошо прибегать или просто к перемене воды, что только очень хлопотливо, или к обертыванию аквариума мокрым, сложенным в несколько слоев, полотенцем, которое, для того чтобы действие охлаждения было продолжительнее, следует или время от времени обливать водой с помощью спринцовки, или обмокнуть одним из концов в аквариум. Испаряясь, вода будет охлаждать окружающий аквариум воздух и если не сильно понижать температуру воды аквариума, то, по крайней мере, не давать ей подниматься. В случае же высокой температуры воды лучше не прямо обертывать аквариум полотенцем, простыней или вообще какой-нибудь мокрой тканью, но понизить сначала температуру ее переменой или добавлением холодной воды.

Еще более действительный способ охлаждения — класть в аквариум куски льда. Только лед должен быть непременно чистый — речной, а не какой-нибудь грязный, прудовой. Опуская в воду лед, надо привязывать его к камню или вообще чему-нибудь тяжелому, так как в противном случае, будучи легче воды, он будет постоянно плавать на поверхности и, тая под влиянием окружающего его теплого воздуха, производить чересчур слабое охлаждение воды. Но еще лучше ставить в воду какой-нибудь сосуд: бутылку, высокую банку или жестяной цилиндр с охлаждающей смесью, напр., с толченым льдом и солью, со снегом и хлористым кальцием (CaCl2) и т. п. Действие такого сосуда будет гораздо значительнее, так как охлаждающая поверхность гораздо больше, и, кроме того, удобнее, так как лед, помещенный в сосуде, может быть какой угодно, даже грязный, взятый прямо из погреба.

Наконец, понижение температуры воды можно производить (конечно, зимой) простым перемещением аквариума ближе к окну или даже постановкой его на подоконник. Здесь температура бывает обыкновенно на 3 или 4 градуса ниже комнатной, а в морозы доходит нередко до +7 и даже до +5° по Р. и, следовательно, как раз подходит под ту температуру, которую любят как большинство окуневых, так и морские животные.

Измерения температуры, конечно, необходимо производить при помощи хорошего термометра. Лучшим и более всего удобным для этого термометром может быть плавающий термометр, так как, не прикасаясь ни к стенкам, ни ко дну сосуда, он будет показывать настоящую температуру воды. Такой термометр можно достать во всех оптических магазинах, напр., у Трындиных, на Лубянке, у Махина и других. Цена его обыкновенно 30—75 коп. за штуку. В случае же, если бы такого плавающего термометра нельзя было достать, то, измеряя температуру воды обыкновенным воздушным градусником, нужно опускать его непременно в середину воды, так как близ поверхности она всегда теплее, а на дне — холоднее.

Перемена воды

Всю воду менять в аквариуме совсем не следует. Ее можно менять крайне редко и понемногу, т. е. ведро-два в неделю (конечно, в аквариуме вместимостью не менее 7 или 8 ведер) и только в таких исключительных случаях, каковы, напр., когда слишком много накопится грязи на дне аквариума, извлекая которую приходится вылить из аквариуме несколько веред воды, или же в пасмурную погоду, когда свежей водой необходимо заменить недостаточность выделения кислорода растениями. Но воду следует подбавлять по мере ее испарения, которое в сухих квартирах бывает обыкновенно весьма значительно, и добавлять как можно чаще, не дожидаясь, чтобы она испарилась в аквариуме наполовину, так как в противном случае и растения будут страдать и плохо выделять кислород, и рыбам будет душно.

Вся хитрость такого ухода без перемены воды состоит в умении уравновесить количество выделяемого растениями кислорода (а потому, конечно, он и немыслим в аквариумах, где нет настоящих водяных растений, т. е. таких, листья которых развиваются под водой) с количеством углекислоты, выделяемой дыханием рыб и растений. Иначе сказать, надо уметь посадить столько растений, сколько необходимо их для выделения количества кислорода, потребного для поддержания жизни находящихся в аквариуме животных. Достигнуть же такого равновесия не особенно трудно: стоит только пустить в засаженный растениями аквариум немного рыб и наблюдать: будут ли рыбы плавать близ поверхности, покрывая воду пузырьками, или нет? В первом случае надо вынуть рыбу-две покрупнее, так как такое плавание рыб на поверхности, особенно с щелканьем, всегда обозначает недостаток кислорода, и переменить, смотря по объему аквариума, одно или несколько ведер воды.

В начале надо, конечно, стараться сажать рыб как можно меньше, так как растения еще не вполне принялись и, следовательно, дают мало кислорода. Кроме того, надо обращать также внимание на то, что в пасмурную погоду, которая зимой бывает гораздо чаще, растения выделяют также меньше кислорода, чем в светлую, солнечную. Последнее особенно заметно бывает у надорванных листьев подводных растений, каковы, напр., валлиснерия, элодея, апоногетон, кувшинка, которые в пасмурные дни почти совсем не выделяют газа, между тем как в солнечные кислород выделяется из них целыми струйками, целыми ожерельями мелких, похожих на бусы, пузырьков. Вот почему весьма заблуждаются те из любителей, которые, во избежание образования зеленого налета на стеклах, даже и зимой стараются по возможности удалить аквариум от света. Этим они приносят двоякий вред и растениям, которые, не имея света, желтеют, чернеют и теряют всю свежесть и яркость зелени, и рыбам, которые получают меньше и даже совсем не получают живительного для них газа.

Выливать воду из аквариума можно двояким образом: или с помощью каучуковой трубки, о которой мы говорили уже в главе об устройстве аквариума, или посредством сифона, вделанного в аквариум. Последний состоит из тонкой цинковой, вделанной в дно трубки, на которую надевается другая, более широкая, в виде колпака трубка, верхняя часть которой вся закрыта, исключая одного небольшого отверстия. Чтобы привести в действие этот сифон, надо прежде всего отверстие это залепить бумажкой, а затем потянуть в себя воздух из выходящего наружу конца трубки. (Удобнее тянуть, если на конец этот предварительно надета гуттаперчевая трубка.) Тогда вода, под влиянием давления наружного воздуха, устремится под толстую трубку, поднимется до верхнего отверстия тонкой трубки и выльется наконец наружу. Понятное дело, чем выше будет стоять вода в аквариуме, тем легче она будет выливаться, а если уровень ее достигает отверстия верхней трубки, то она даже сама начнет вытекать, без всякого с вашей стороны вытягивания.

Последним свойством особенно пользуются при устройстве проточного аквариума, который обыкновенно устраивают так, что в одной части помещают трубку для притока воды, а в другой этот сифон. Прибывая понемногу, вода выливается по мере притока, а чтобы истечение притока ее не превышало последнего, то изливающее отверстие трубы регулируют или с помощью крана, или сжимая конец насаженного на нее каучукового рукава.

Если аквариум непроточный, то вода, вытекая, захватывает с собой со дна всю грязь и годна только для поливки цветов, а если проточный, то ее можно утилизировать несколько раз, для чего нужно только сделать два совершенно одинаковой величины ведра, из которых одно поместить под исток, а другое повесить на стене вместо резервуара, снабжающего водой аквариум, и менять их места по мере наполнения стоящего под истоком ведра. Сделав эти сосуды вместимостью в полтора или два ведра и умерив приток и исток воды, мне кажется, можно достигнуть того, чтобы менять их не более двух раз в сутки и получить таким образом простой и удобный проточный аквариум.

Действие этого сифона замечательно еще тем, что он извлекает только одни нижние и, следовательно, только испорченные слои воды и таким образом действительно обновляет всю воду аквариума. Но зато, если потребовалось бы почему-либо вытянуть воду с поверхности или из середины или собрать грязь где-нибудь в отдалении от сифона, то пришлось бы прибегнуть уже к обыкновенной каучуковой трубке-сифону.

Итак, вот, следовательно, средства для выливания воды из аквариума. Что касается до вливания, то его можно производить или с помощью каучуковой трубки-сифона, что, между прочим, надо заметить, представляет в большей части случаев слишком много возни, или же просто наливать графином или чайником, наблюдая только, чтобы струя падала на какой-нибудь чистый предмет: плавающую пробку, глубокое блюдце, бумагу и т. п. и не доходила бы до дна, так как в противном случае грязь, находящаяся на дне, будет подниматься и мутить всю воду.

Кроме выше описанных способов можно обновлять воду еще фонтанной струей, что крайне красиво, приятно для глаза и даже полезно для помещения, где находится аквариум (в особенности если в нем очень сух воздух), только надо, чтобы струя падала на какую-нибудь подставку, так как иначе вода в аквариуме становится так мутна, что растения покрываются грязными мохрами и идут очень плохо.

Протирание стекол

Стекла аквариума надо чистить изнутри как можно чаще, приблизительно через день, проводя по ним осторожно рукой или тряпкой и изредка жесткой зубной щеткой. Летом прочищать следует только три стекла, стекло же обращенное к свету оставлять покрытым водорослями, так как зеленый цвет чрезвычайно благоприятно действует на рыб. Впрочем, и это стекло не надо оставлять покрытым сплошным зеленым налетом, но делать в нем в некоторых местах просветы, через которые бы солнечные лучи могли свободно проникать в аквариум, так как иначе все находящиеся близ стекла растения погибнут; а зимой, начиная с октября и по март, в особенности в помещениях, где освещение очень слабо, следует протирать и стекло, обращенное к свету, без чего все растения также побуреют и начнут загнивать. В особенности же необходимо солнце для развития растений весной, а потому если лучи в это время слишком сильны, то лучше отставить аквариум от окна подальше, но только никак не лишать его совсем солнца.

Впрочем, все эти протирания и самый зеленый налет можно уменьшить помещением со стороны света темно-зеленого цвета стекла, которое, пропуская полусвет, задерживает слишком сильное развитие водорослей и в то же время пропускает настолько световых лучей, что растения выделяют из себя обильно кислород. Стекло это можно с успехом заменить также ярко-зеленой бумагой или даже материей, которые представляют даже то удобство, что в пасмурные дни их можно удалять.

Протирать стекла аквариума лучше всего, как мы выше сказали, ладонью, но если стекла эти не зеркальные, то удобнее это делать чистой тряпочкой. Тряпочку, прежде чем опустить в аквариум, следует хорошенько сполоснуть, а потом каждый раз, как она только немного покроется стираемой со стекол зеленью, вымывать в чистой воде.

Так стирают легкий налет, но если он сделался уже слишком толстым, если от долгого нечищения стекол он превратился в буро-зеленую пленку, то его можно оставить до тех пор, пока не очистят его сами рыбы (ибо многие рыбы, особенно золотые, караси и лини, крайне жадны до этого налета и так ловко отхватывают его от стекла, что последнее остается совершенно чистым).

Чистить стекла песком надо избегать, так как песок царапает их. Что касается до наружного протирания стекол, то лучше всего протирать их, как и вообще все стекла, газетной или мягкой оберточной бумагой. Протирание же тряпками не удовлетворительно, так как оставляет всегда после себя пыль и никогда не протирает стекол дочиста.

Чистка аквариума

Чистку аквариума надо производить с помощью гуттаперчевого сифона, водя им по дну и стараясь захватить как можно больше грязи. В том же случае, если грязь не поднимается или слишком засела между побегами растений, сифон следует надавить в самой нижней части его, в конце, где вода изливается, что произведет у погруженного в аквариум конца некоторую муть от поднявшейся на дне грязи, которая тотчас же будет увлечена потоком воды в сифон и извержена наружу. Повторяя это много раз и не давая грязи слишком много накапливаться в аквариуме, можно очень легко содержать дно всегда в чистоте. Очищая дно сифоном, надо, однако, быть крайне осторожным с рыбами и зорко наблюдать, чтобы они как-нибудь не были им притянуты, так как следствием такого притяжения большей частью на присосанной части рыбьего тела появляются раны, которые, постепенно увеличиваясь, нередко становятся причиной смерти рыбы.

А потому, во избежание подобных печальных последствий, водя сифоном по дну, надо выдающуюся его часть держать постоянно в пальцах и сжимать при малейшем поползновении рыбы приблизиться, так как при сжимании трубки ток воды прекращается, следовательно, минуется и всякая опасность для рыбы быть присосанной.

Сжимая таким образом сифон, можно вынимать его совершенно из воды и переносить даже из одного места аквариума в другой, не имея надобности прибегать каждый раз к вытягиванию воздуха ртом, как это объяснено было в главе об устройстве аквариума. При этом, однако, необходимо сжимать трубку по возможности крепче, чтобы вода, находящаяся в колене ниже места нажима, не вылилась и воздух не прошел сквозь трубку, иначе придется приступить снова к вытягиванию воздуха ртом.

За последнее время сделано, впрочем, приспособление (рис. 15.13, 2), где воздух вместо рта вытягивается особым шаром. Сжав этот шар и закрыв один из концов стеклянной трубки гуттаперчевой пробкой, опускают противоположный конец ее с надетым на нее гуттаперчевым сифоном в возу и затем разжимают шар. Тогда высосанный шаром из сифона воздух заменяется хлынувшей из аквариума водой, которая теперь и льется из сифона.

Исключая этого сифона, очищать дно аквариума можно еще длинной стеклянной трубкой (рис. 15.11), погружая и вынимая ее из воды, заткнув только предварительно верхний конец ее пальцем. Но, к прискорбию, трубкой этой при каждом ее погружении вынимается лишь самое ничтожное количество грязи, так что способ этот хорош только разве для вынимания излишка брошенного корма, для вынимания какого-нибудь случайно попавшего в аквариум предмета, загнившего листа и вообще чего-нибудь в этом роде, а никак не для радикального очищения аквариума. Для этого он крайне медлен и может практиковаться лишь теми лицами, которые уходу за аквариумом могут посвятить много времени.

Для большого удобства трубки эти бывают также загнуты снизу, с коленом (рис. 15.11), что хотя и немного способствует увеличению силы тяги, но дает возможность собирать больше грязи, нежели прямыми, так как втягиваемая грязь гораздо легче вынимается наружу. Для того чтобы иметь трубки с более сильной тягой, надо брать длинные трубки, т. к. чем больше трубка, тем и тяга в ней сильней. Такие трубки можно достать во всех оптических магазинах, магазинах химических приборов, а иногда даже и в стеклянных лавках.

Наконец, за последнее время появились в продаже сифоны, которые быстро затмили по своей практичности и удобству все вышеописанные приспособления. Один из них (рис. 15.12) имеет вид лампового стекла. Достоинства его заключаются не только в том, что вам не приходится ни тянуть воздух ртом, ни принимать каких-либо предосторожностей, чтобы к нему не прикоснулись как-нибудь рыбы, но еще и в том, что вы можете как вам угодно приостановить втягивание в него воды, затем опять сейчас же пустить его в действие и, наконец, видеть все, что им захвачено. Последнее свойство весьма важно, так как благодаря ему можно части при помощи этого сифона извлечь со дна или вообще из аквариума все, что вам кажется подозрительным или вас интересует (например, икру рыб, моллюсков и т.п.), и рассматривать их вблизи. Другой (рис. 15.13, 1) подобный же, еще удобнее, так как дает возможность захватывать больше грязи.

Что касается до манипуляции ими, то она весьма проста и походит на сейчас описанные приемы с стеклянными трубками. Опуская сифон (расширенной его частью, в которую вставлена маленькая, тоненькая стеклянная трубочка) в воду, вы закрываете пальцем верхнее его отверстие а (помещающееся в удлиненной его части) и только опустив его совсем в воду, открывает. Раз отверстие это открыто, вода устремляется в нижнее; но стоит только вам опять его заткнуть, как ток моментально прекращается. То же самое надо сделать и перед тем, как вынуть сифон из воды, так как в противном случае вода из него сейчас же выльется обратно.

Такова чистка аквариума, которую приходится производить, смотря по количеству рыб и скоплению нечистот, почти каждую неделю. Но кроме этой легкой чистки следует, по крайней мере хоть раз в год, производить еще генеральную чистку аквариума, т.е. перемыть в нем все, начиная с песка и кончая гротом. Приступая к этой чистке, прежде всего следует удалить все загнившие растения. Вынимать их надо осторожно, чтобы не попортить корней и не изломать, переменить землю в тех, которые посажены в горшочках, промыть покрытые водорослями или бурым налетом листья и немедленно же поместить в сосуд с водой. Затем вынуть грот и также промыть его. Промывать грот можно различно: или просто сполоснуть водой, если покрывающие его водоросли еще зелены и вы хотите сохранить их, или хорошенько протереть твердой щеткой, если на нем находятся красивые раковины, которые желательно очистить от покрывающей их грязи. В случае, если бы налет та плотно насел, что его нельзя стереть щеткой, то лучше всего окунуть весь грот или несмывающиеся части в слабый раствор соляной кислоты; только тогда необходимо, прежде чем обратно поместить его в аквариум, продержать его некоторое время в воде в отдельном сосуде или, по крайней мере, хорошенько промыть в нескольких водах.

По удалении грота можно приступить к перемещению рыб. Ловить рыб надо мелкой сеткой (рис. 15.13, 6). Особенно осторожно надо вылавливать макроподов и верховок, которые так пугаются, что часто в отчаянии выскакивают из аквариума и расшибаются до смерти. Температура воды, в которую их помещают на время, не должна значительно разниться от температуры воды, в которой они жили в аквариуме, а сам сосуд, содержащий ее, должен быть тщательно вымыт.

Вынув рыб, приходится приступать к самой неприятной и грязной работе — промывке песка. Для этого прежде всего взбалтывают как можно сильнее всю воду в аквариуме и взбудораживают песок. Затем поспешно начинают выливать с помощью ручного сифона воду и собирают им, по возможности тщательнее, скопляющуюся на дне муть; а чуть вода начнет немного просветляться, как сейчас же ее опять взбалтывают. Когда же дойдут до поверхности песка, то отгребают его весь в одну сторону и продолжают выцеживать воду до самого дна. После этого вынимают песок из аквариума и промывают его в деревянной чашке небольшими порциями рукой или деревянной мешалкой, и промывают до тех пор, пока вода, налитая в эту чашку, не сделается совершенно светлой. Промыв таким образом песок, его помещают или в аквариум, если последний уже вымыт, или же в сосуд с водой. Оставлять промытый песок без воды не следует, так как, высохнув, он опять начинает мутить воду.

Промывка аквариума производится также тщательно. Вымывают дно, пазы и стекла. Последние особенно старательно, чтобы не оставалось ни малейшего следа налета. Вымывают их тряпкой и щеткой. Если же и от щетки налет (особенно бурый, близ основания стекол) не сходит, то протирают их солью; белый же налет, образующийся близ поверхности и имеющий вид накипи, соскабливают просто осторожно ножом или стирают золой от кокса.

Промыв таким образом растения, грот, песок и сам аквариум, приступают к его устройству, которое производится совершенно так же, как мы уже писали об этом в главе об устройстве аквариума. Вся разница в том, что нет надобности выжидать, пока исчезнет запах, а можно приступить к посадке растений тотчас же по наполнении водой аквариума, как только температура ее приблизительно сравняется с температурой комнаты. Рыбы помещаются только по укоренении растений, на что потребно не менее недели.

Итак, вот тот способ, которого я придерживаюсь при чистке аквариума. Но кроме его, существует другой, еще более простой и менее хлопотливый, хотя, мне кажется, и не всегда удобный. При способе этом нет надобности ни вынимать из воды растений, ни грота, ни вылавливать рыб, ни промывать наконец, песок, а просто, взболтав воду и подняв со дна всю муть, надо выцедить эту воду из аквариума, промыть хорошенько стекла и опять наполнить его свежей. Одно замечу, чистку эту надо производить гораздо чаще, чем ту, которую я предлагаю: вместо раза в год, по крайней мере раз в два-три месяца.

Комментировать эту книгу.

Предыдущая || Следующая || Оглавление